Технология и организация перевозок на железнодорожном транспорте

Издательство:
Год:
2018
Страниц:
404
Уровень образования:
ВО
ISBN:
978-5-906938-83-1
Библиографическая запись:
Гоманков, Ф.С. Технология и организация перевозок на железнодорожном транспорте : учебник / Ф. С. Гоманков, Е. С. Прокофьева, Е. В. Бородина, В. В. Панин. — Москва : ФГБУ ДПО «Учебно-методический центр по образованию на железнодорожном транспорте», 2018. — 404 с. — 978-5-906938-83-1. — Текст : электронный // УМЦ ЖДТ : электронная библиотека. — URL: https://umczdt.ru/books/1196/225467/ (дата обращения 30.04.2026). — Режим доступа: по подписке.
Аннотация

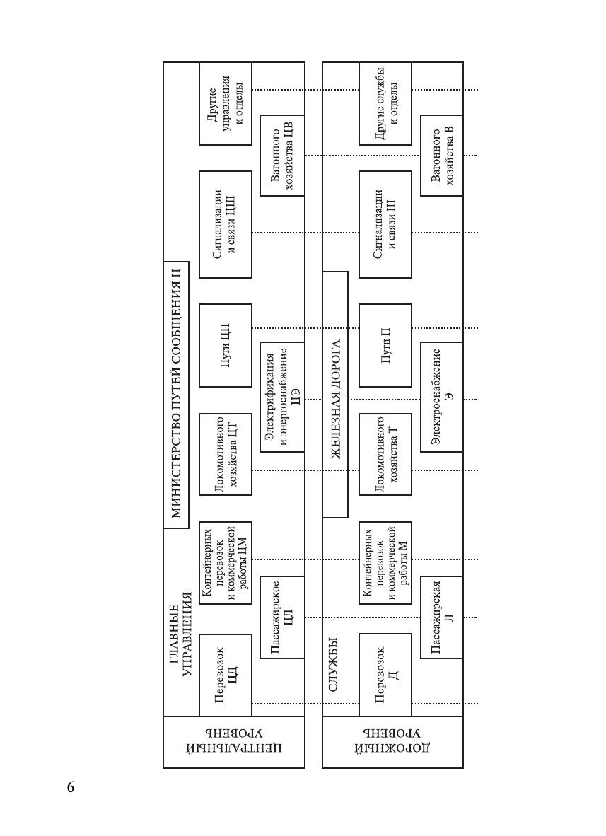
Изложены основы управления перевозочным процессом; описаны устройства, схемы и технология работы разъездов, обгонных пунктов, железнодорожных станций и узлов; рассмотрена организация маневровой работы на железнодорожных станциях и нормирование маневровых операций; представлена система организации вагонопотоков и способы расчета плана формирования поездов, показатели, учет и анализ его выполнения. Рассмотрены вопросы графика движения поездов, пропускной и провозной способности линий и перегонов, способы технического перевооружения линий, оперативное управление перевозочным процессом, организация пассажирского движения.

Наши партнеры

Наш веб-сайт использует Cookies для улучшения работоспособности веб-сайта, анализа использования данных сайта. Продолжая работу на веб-сайте, Вы даете свое согласие на обработку своих персональных данных в соответствии с Политикой сайта в отношении персональных данных, опубликованной на нашем веб-сайте. Вы можете запретить обработку Cookies в настройках браузера.